设计任务书
一、初始数据
设计二级展开式直齿圆柱齿轮减速器,初始数据F = 1600N,V = 1.5m/s,D = 400mm,设计年限(寿命) : 10年,每天工作班制(8小时/班):2班制,每年工作天数:300天,三相交流电源,电压380/220V。
二. 设计步骤
·传动装置总体设计方案
·电动机的选择
·确定传动装置的总传动比和分配传动比
·计算传动装置的运动和动力参数
·齿轮的设计
·滚动轴承和传动轴的设计
·键联接设计
·箱体结构设计
目录
第一部分 设计任务书 1
一、初始数据 1
二. 设计步骤 1
第二部分 传动装置总体设计方案 2
一、传动方案特点 2
二、计算传动装置总效率 2
第三部分 电动机的选择 2
3.1 电动机的选择 2
3.2 确定传动装置的总传动比和分配传动比 3
第四部分 计算传动装置的运动和动力参数 4
(1)各轴转速: 4
(2)各轴输入功率: 4
(3)各轴输入转矩: 5
第五部分 V带的设计 6
5.1 V带的设计与计算 6
5.2 带轮结构设计 8
第六部分 齿轮的设计 10
6.1 高速级齿轮的设计计算 10
6.2 低速级齿轮的设计计算 14
第七部分 传动轴和传动轴承及联轴器的设计 19
7.1 输入轴的设计 19
7.2 中间轴的设计 24
7.3 输出轴的设计 29
第八部分 键联接的选择及校核计算 35
8.1 输入轴键选择与校核 35
8.2 中间轴键选择与校核 36
8.3 输出轴键选择与校核 36
第九部分 轴承的选择及校核计算 37
9.1 输入轴的轴承计算与校核 37
9.2 中间轴的轴承计算与校核 38
9.3 输出轴的轴承计算与校核 38
第十部分 联轴器的选择 39
第十一部分 减速器的润滑和密封 39
11.1 减速器的润滑 39
11.2 减速器的密封 40
第十二部分 减速器附件及箱体主要结构尺寸 41
12.1 减速器附件的设计与选取 41
12.2 减速器箱体主要结构尺寸 45
设计小结 47
参考文献 47
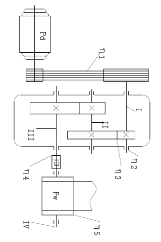
传动简图
说明书








CAD图纸
文件列表


